Ford Ka+: Set met afdichtmiddel voor banden
Het kan voorkomen dat in de auto geen reservewiel is aangebracht. Daarom beschikt u over een bandenreparatieset waarmee één beschadigde band kan worden gerepareerd.
De set bevindt zich in de reservewielkuip.Algemene informatie
WAARSCHUWINGMet de set kunnen de meeste gaten in banden met een diameter tot 6mm worden gedicht, zodat u tijdelijk verder kunt rijden.Afhankelijk van het type en de omvang van de beschadiging kunnen sommige banden slechts gedeeltelijk of soms geheel niet worden gedicht. Een te lage bandenspanning kan het weggedrag van de auto beïnvloeden, waardoor u de macht over het stuur kunt verliezen.
Gebruik de set niet wanneer de band al beschadigd is door het rijden met een te lage bandenspanning. Dit zou tot controleverlies over de auto en fataal of dodelijk letsel kunnen leiden.Gebruik de bandenreparatieset niet bij run-flat banden. Dit zou tot controleverlies over de auto kunnen leiden.
Probeer een beschadigde zijkant van de band niet zelf af te dichten. De band kan klappen, wat tot controleverlies over de auto en fataal of dodelijk letsel kan leiden.
Let op het volgende bij het gebruik van de set:
- Rijd voorzichtig en vermijd plotselinge stuur- of rijmanoeuvres, vooral wanneer de auto zwaar beladen is of een aanhanger trekt.
- De set zorgt voor een tijdelijke reparatie, waardoor u uw reis tot de volgende dealer of bandenspecialist kunt voortzetten of een afstand van maximaal 200km kunt afleggen.
- Overschrijd een maximum snelheid van 80km/h niet.
- Houd de set buiten het bereik van kinderen.
- Gebruik de set bij omgevingstemperaturen tussen -40-70ºC.
WAARSCHUWINGGebruik alleen de bandenreparatieset die bij de auto is geleverd. Met een verkeerde set kunt u uw banden wellicht niet oppompen.Perslucht kan werken als explosief of voortstuwingsmiddel, wat kan leiden tot ernstig letsel.
Laat de set tijdens het gebruik niet onbeheerd achter. Als u deze instructie negeert, kan dat letsel of de dood tot gevolg hebben.Laat de compressor niet langer dan 10 minuten draaien. Hierdoor kan de compressor defect raken, wat ernstige verwondingen kan veroorzaken.
- Parkeer uw wagen zodanig langs de kant van de weg dat u het verkeer niet belemmert en dat u in staat bent de set te gebruiken zonder in gevaar te komen.
- Trek, zelfs wanneer u op een vlakke ondergrond geparkeerd staat, de handrem aan om te waarborgen dat de auto niet in beweging kan komen.
- Probeer geen vreemde voorwerpen, zoals spijkers of schroeven, uit de band te verwijderen.
- Laat de motor draaien terwijl de set wordt gebruikt, maar niet als de auto in een afgesloten of slecht geventileerde ruimte staat (bijvoorbeeld in een gebouw). Zet in dergelijke gevallen de compressor aan zonder de motor te starten.
- Vervang de fles met het afdichtmiddel door een nieuwe voordat de houdbaarheidsdatum (zie de bovenzijde van de fles) is bereikt.
- Informeer andere gebruikers van de auto dat de band tijdelijk is gerepareerd met de set. Stel ze op de hoogte van de speciale rijvoorschriften.
Banden op spanning brengen
WAARSCHUWINGControleer de bandwang voordat u het afdichtmiddel in de band pompt. Wanneer u scheuren, knobbels of dergelijke ziet, probeer dan niet de band op te pompen. Dit kan tot letsel leiden.
Ga niet vlak naast de band staan wanneer de compressor in bedrijf is. Dit kan tot letsel leiden wanneer de band klapt.Sla de bandwang gade tijdens het oppompen. Wanneer u scheuren, zwellingen en dergelijke ziet verschijnen, schakel dan de compressor uit en laat de lucht met behulp van het drukregelventiel ontsnappen. Rijd niet verder met deze band. Dit zou tot controleverlies over de auto kunnen leiden.
Het afdichtmiddel bevat natuurlijk latex. Voorkom contact met huid, ogen of kleding. Mocht dit toch gebeuren, spoel het betreffende lichaamsdeel dan direct met veel water schoon en neem contact op met uw huisarts.Als de bandenspanning niet binnen 10 minuten 1,8bar bedraagt, kan de band ernstig beschadidg zijn waardoor een tijdelijke reparatie niet mogelijk is. Vervolg in een dergelijk geval uw reis niet met deze band. Dit zou tot controleverlies over de auto kunnen leiden.

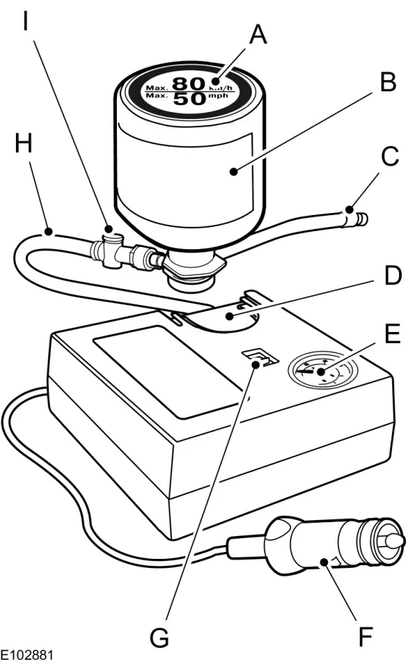
- Label
- Fles afdichtmiddel
- Slang voor fles afdichtmiddel
- Flessenhouder
- Drukmeter
- Stekker met kabel
- Compressorschakelaar
- Slangreparatieset
- Drukregelventiel
- Haal de set uit de verpakking.
- Trek label A met de maximumsnelheid van 80km/h van de fles afdichtmiddel en bevestig het aan het dashboard in het gezichtsveld van de bestuurder. Het label mag niets belangrijks aan het oog onttrekken.
- Haal de slang H met het drukregelventiel I en de stekker met kabel F uit de set.
- Sluti de slang H met het drukregelventiel I aan op de fles afdichtmiddel B.
- Breng de fles afdichtmiddel B in de flessenhouder D aan.
- Draai het ventieldopje van de beschadigde band eraf.
- Schroef de slang van de fles afdichtmiddel C stevig op het ventiel van de beschadigde band.
- De compressorschakelaar G moet in de stand 0 staan.
- Sluit de stekker F aan op de aansluiting van de aansteker of het extra elektrisch aansluitpunt. Zie Extra voedingsaansluitingen . Zie Extra voedingsaansluitingen .
- Start de motor.
- Zet de compressorschakelaar G in stand 1.
- Pomp de band niet langer dan 10 minuten op tot een minimumdruk van 1,8bar en een maximumdruk van 3,5bar. Zet de compressorschakelaar G in de stand 0 en controleer de huidige bandenspanning met de drukmeter E.
N.B.: Wanneer het afdichtmiddel via het ventiel in de band wordt gepompt, kan de druk toenemen tot 6bar maar deze neemt na ca. 30 seconden weer af.
N.B.: Nadat u de compressor hebt uitgeschakeld, kunt u horen dat lucht uit de beschadigde band ontsnapt. Dit is normaal en kan worden genegeerd op voorwaarde dat de gespecificeerde minimum bandenspanning is bereikt.- Neem de stekker F uit de aansluiting van de aansteker of het extra elektrisch aansluitpunt.
- Schroef snel de slang C los van het ventiel. Draai het ventieldopje vast.
- Laat de fles afdichtmiddel B in de flessenhouder D zitten.
- Zorg dat de set veilig wordt opgeborgen, maar makkelijk bereikbaar is. De set is opnieuw nodig bij het controleren van de bandenspanning.
- Rijd onmiddellijk weg en rijd ongeveer 3km zodat het afdichtmiddel het lek kan afdichten.
WAARSCHUWINGWanneer u heftige trillingen, onbalans in het stuurwiel of lawaai tijdens het rijden waarneemt, minder dan geleidelijk snelheid en breng de auto zo snel mogelijk tot stilstand wanneer dit veilig kan. Controleer de band en de bandenspanning opnieuw. Indien de bandenspanning minder dan 1,3bar bedraagt of er scheuren, bobbels of ander schade zichtbaar zijn, zet uw reis dan niet met deze band voort. Dit zou tot controleverlies over de auto kunnen leiden.
- Stop de auto na ongeveer drie kilometer. Controleer en corrigeer zo nodig de spanning van de beschadigde band.
- Breng de set aan en lees de bandenspanning af van de drukmeter E.
- Breng de band op de gespecificeerde bandenspanning. Zie Bandenspanning.
- Nadat de band op de correcte bandenspanning is gebracht, moet de compressorschakelaar G naar stand 0 worden bewogen, de stekker F uit de aansluiting worden verwijderd, de slang C worden losgeschroefd en het ventieldopje worden vastgemaakt.
- Laat de slang C en H aangekoppeld op de fles afdichtmiddel B en berg de set veilig op.
- Rijd naar de dichtstbijzijnde bandenspecialist om de beschadigde band te laten vervangen. Vertel, voordat de band van de velg wordt afgenomen, de bandenspecialist dat de band een afdichtmiddel bevat. De fles met afdichtmiddel B en slang C moeten zo snel mogelijk na gebruik worden vervangen.
WAARSCHUWINGLege flessen afdichtmiddel mogen samen met het huishoudelijk afval worden afgevoerd. Breng resten afdichtmiddel naar uw erkende dealer of voer ze af volgens de lokale richtlijnen.Zorg er voordat u wegrijdt voor dat de band de voorgeschreven bandenspanning heeft. Controleer voortdurend de bandenspanning tot de band is vervangen.